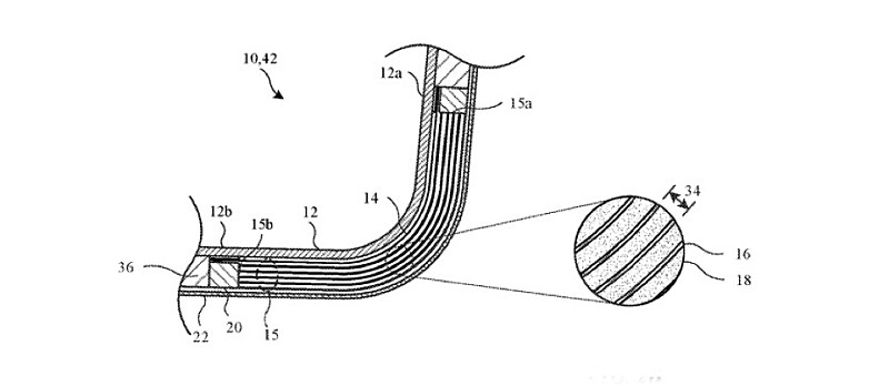
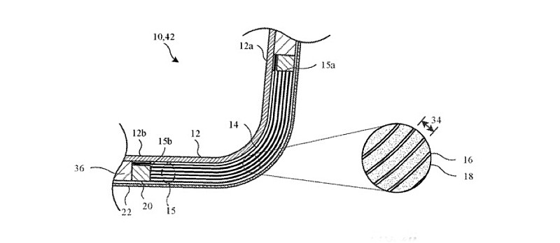
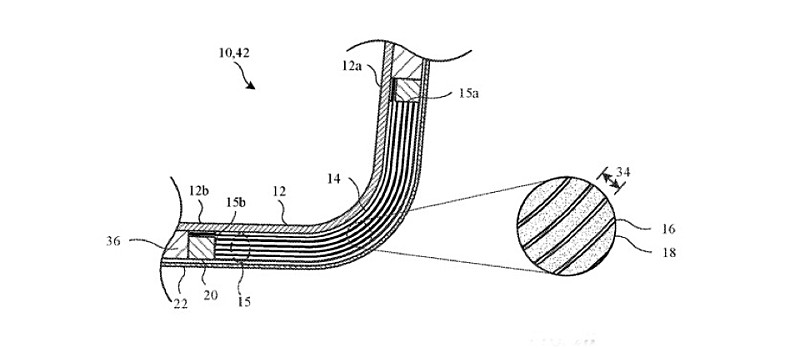
차기작 맥북 풀체인지 소식입니다. 애플의 특허에서 유추하는 루머입니다. 아래 도면과 같은 방식으로 힌지를 층층이 쌓아 밴딩을 만들어 잘 접히고 펴지며 내구성에 이상이 없다고 합니다.

이 기술로 지금처럼 디스플레이와 키보드, 즉 상하판 분리구조가 아닌 일체 구조가 나올 걸로 예상됩니다. 현재 이 기술은 아이패드 프로 라인업에 나오던 스마트 키보드의 흰지와도 유사한 걸로 확인되었습니다. 아무래도 수리하는 입장에서는 더 어려워질 거 같습니다.

출처: https://appleinsider.com/articles/20/05/05/apple-doubling-down-on-bendable-designs-for-macbook-macbook-pro
미국 특허 등록번호: Planar hinge assembly, US Patent No 10,642,318
'IT•NEWS' 카테고리의 다른 글
| 포트나이트, 구글과 애플 모두 퇴출 (0) | 2020.08.14 |
|---|---|
| 10년째 애플 아이패드-태블릿PC 압도적 1위 (0) | 2020.08.04 |
| 캐논 EOS R5 과열문제 해결이 가능할까? (0) | 2020.08.01 |
| 애플 에어팟 프로 ios14 이후 추가되는 새로운 기능 4가지 (1) | 2020.08.01 |
댓글