EOS R5는 한 달 전에 출시되었으며 과열 문제는 많은 사용자들에게 몇 차례에 걸쳐 문제제기되었습니다. 캐논은 이에 대해 더 이상 할 말이 없는 것 같습니다. 문제를 인정하고 사용자에게 몇 가지 제안을 하는 문서를 보냈지만 근본적으로 문제를 해결하지 못했습니다.

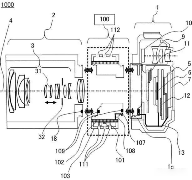
완성되고 대량 생산 된 모델은 재설계가 거의 불가능합니다. Canon은 솔루션을 생각해 내기 위해 외부 액세서리 사용하려고 하는 거 같습니다. Canon에는 이미 기성품 솔루션, 즉 능동 냉각 장치가있는 렌즈 어댑터에 대한 특허가 있습니다.

외국 미디어에 노출 된 정보는 일본 특허 정보 웹 사이트에서 제공되며 Canon의 등록 특허 번호는 2019-186871입니다. 설명에 따르면 어댑터 링 장치에는 공기 흡입구와 배출구가 장착되어 있으며 공기 대류를 생성하여 냉각할 수 있습니다. 이미징 장치 내장카메라 안정화 시스템이 장착된 카메라의 경우 센서 위치가 고정되어 있지 않기 때문에 열을 흡수하고 열을 방출하는 방법은 항상 문제였습니다. 어댑터 링을 통한 열 방출은 센서의 부동 위치에 영향을 받지 않으며 동시에 외부 팬보다 높은 열 방출 효율을 달성할 수 있을 거 같습니다.

그러나 부작용은 일단 어댑터 링이 사용되면 플랜지의 초점 길이가 바뀌고 RF 렌즈를 사용할 수 없다는 것입니다. 즉 냉각 어댑터 링을 사용하려면 EF 렌즈와 일치해야합니다. 원래 EF 렌즈는 재고가 많고 보급률이 높으며 선택할 수 있는 하위 공장 렌즈가 많으며 구매 비용도 낮을 수 있습니다. 현재 이러한 기술로 Canon R5 과열의 해결책으로 사용할 수 있을까요?

유명 카메라 유튜버인 Gerald Undone은 여름에 섭씨 30도에서 한 시간을 보냈고 EOS R5로 30 장 이상의 사진을 찍었고 EOS R5를 비디오 모드로 전환했을 때 카메라가 과열 경고를 표시하고 기록이 불가능하다고 합니다.
Gerald Undone은 다음과 같이 그의 사용 상태를 설명했습니다.
-그는 1 시간 안에 종료되지 않았지만 경고 이후 1 분 후에 화면이 자동으로 종료되도록 설정된다고 합니다.
-한 번만 촬영하고 연속 촬영 및 기타 기능을 사용하지 않고 총 약 30-40 장의 사진이 촬영이 가능했습니다.
-EOS R5를 사용하는 경우 여름에 섭씨 30도에서 한시간이상 촬영하지 않아도 과열 경고가 나타날 가능성이 높습니다.
-과열 경고 모드는 8K, 4KHQ 및 4K60 입니다. 그러나 사진을 계속 촬영하기 위해서 저품질 비디오 설정으로 전환할 수 있습니다.
사실 과열의 영향을 받는 유저들은 오랫동안 연속 촬영해야하는 다큐멘터리, 이벤트 및 웨딩 사진작가로 제한되었습니다. 그래서 EOS R5은 장시간 촬영보다 단편적인 비디오촬영가와 사진작가에게 추천한다고 말하고 있습니다.

물론 과열 후에도 4K / 30p 또는 자르기 모드를 계속 사용할 수 있지만 EOS R5의 가장 큰 판매 포인트는 8K 및 고품질 4K 비디오 기능입니다. Gerald Undone의 리뷰가 보편적인지는 확실하지 않지만 이전에 반복해서 강조했듯이 이렇게 연속 촬영이 불가능하면 영화 및 텔레비전 전문가들에게는 치명적입니다.
EOS R5가 실제로 성공하기 위해서는 이러한 불확실성을 제거해야합니다. 열 방출이 활발한 어댑터 링이 한 가지 방법 일 수 있습니다만 이러한 점으로 볼 때 Canon이 EOS R5의 과열 문제를 해결할 수 있다고 생각하기 어렵습니다.
아무래도 캐논의 차세대 풀프레임 미러리스를 기대하신 분들에겐 실망이 크실 것 같습니다. 그렇지만 이를 펌웨어로 업데이트한다는 말도 있으니 구매 계획이 있으신 분이라면 잠시 기다리시는 것을 추천드립니다.
연관게시글
2020/07/29 - [CAMERA] - 소니 풀프레임 미러리스 A7S3 발매 그리고 성능은?
'IT•NEWS' 카테고리의 다른 글
| 10년째 애플 아이패드-태블릿PC 압도적 1위 (0) | 2020.08.04 |
|---|---|
| 새롭게 바뀌는 맥북 라인업 소식 (0) | 2020.08.03 |
| 애플 에어팟 프로 ios14 이후 추가되는 새로운 기능 4가지 (1) | 2020.08.01 |
| 7.31 오픈 태국의 애플스토어 Central World (0) | 2020.07.31 |
댓글